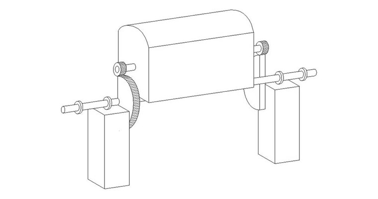
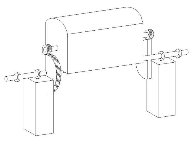
Come ben sappiamo, quello della produzione di energia elettrica a buon mercato risulta un problema di non facile soluzione. Oltre a essere molto costosa, infatti, la resa delle apparecchiature che svolgono questa funzione spesso non è ottimale oltre che fortemente inquinante, senza mettere in conto il pericolo a cui costantemente ci espongono le innumerevoli centrali nucleari al momento esistenti. Gli studi attualmente in corso stanno elaborando diverse strategie per la risoluzione degli inconvenienti sopra accennati ma, purtroppo, ci vorranno decenni prima di ottenere progetti efficienti e sicuri. Per fortuna, grazie al congegno ideato e successivamente brevettato dal Sig. Masiello Michele tali problemi potranno essere definitivamente risolti. Il sistema riguarda un innovativo dispositivo meccanico che grazie a una serie di ingranaggi di diverso diametro atti a moltiplicare i giri, alcuni volani per l’accumulo dell’energia e un grande satellite vantaggiosamente impiegato come leva è in grado di generare lavoro. Il trovato risulta di facile realizzazione visto che si possono tranquillamente utilizzare sistemi costruttivi già in uso e, grazie alla sua semplicità progettuale, il prezzo finale di vendita sarà molto contenuto specie se prodotto in paesi emergenti dove la manodopera è assolutamente a buon mercato. Se siete quindi interessati a questo geniale apparecchio e desiderate ricevere informazioni più dettagliate contattateci ai nostri recapiti telefonici indicati a fine pagina oppure scriveteci utilizzando l’apposito
MODULO ELETTRONICO. Ai navigatori ricordiamo infine che tutte le invenzioni pubblicate in questo sito
sono brevettate. Qualsiasi plagio parziale o totale degli oggetti o cose riprodotte nelle foto o nei disegni, verrà perseguito a norma di legge sia in Italia che in tutti gli stati esteri. Il testo è invece tutelato dal copyright che ne vieta la totale o parziale riproduzione.